中创中间件巡检步骤介绍

中创中间件巡检步骤介绍

东西/原料

  • 电脑
  • 中创中心件

方式/步调

  1. 1

    一、巡检inforsuite节点状况

    登录InforSuite server节制台,这里将以财政办理系统(南网)作为巡检的案例。打开IE浏览器后,在URL处填写中心件节制台的IP地址以及监听的办事端口。(因为涉及营业系统真实ip,需要将ip埋没)

  2. 2

    正常登录InforSuite server 

    当登岸到这个界面之后,可以申明这个系统的InforSuite server运行正常。

  3. 3

    1. 假如在输入链接后发现报错,这里简单阐发一下可能发生的原因:

    1) 中创中心件InforSuite的server未启动

    2) 所做操作的办事器无法监听InforSuite的server办事

    2. 处置步调:

    1) 查抄InforSuite历程是否正运行

    2) 查看日记

    进入InforSuitet安装目次下的logs文件夹查看日记文件,查抄是否存在异常报错

    3) 排查阐发完问题后,需要对办事进行告急恢复

    3. Windows 情况下产物启动方式:

    1) 若是在中创应用办事器安装时选择快捷体例成立在“新程序组”、“现有程序组”

    或在“起头”菜单中,在起头菜单中进入 InforSuite 中的 InforSuite Application

    Server 9.x.x 菜单,在它的下级菜单中点击“启动”来启动中创应用办事器;

    2) 打开号令窗口,进入 AppServer\ as\ bin 目次,输入 startserv.bat,按回车

    键启动中创应用办事器。

    4. Linux 情况下产物启动方式:

    1) 利用 su 号令切换到 root 用户,进入 AppServer/as/bin 目次;

    2) 执行号令 sh startserv 或./startserv。

     

    输入响应对应的用户名/暗码,点击登录进入节制台

  4. 4

    如若当作功登岸,会看到以下界面。

  5. 5

    不雅察每一个实例工作的运行状况

    这里将会是我们巡检监控的重点。不雅察每一个实例工作的运行状况如下图。(以下实例都为正常启动状况)

  6. 6

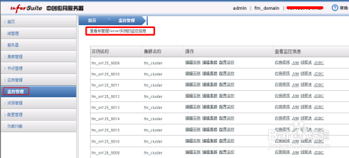
    二、查抄JVM资本环境

    点击“监控办理”查看和办理server实例的监控信息如下:

  7. 7

    后台可以查看到server的gc收受接管环境,号令“jstat –gcutil pid 1000”查看,若是发现存在jvm的Old 区利用达到99%及以上的环境,有可能导致内存溢出的风险。

  8. 8

    点击“监控办理-JDBC资本”可以查看数据源状况。下图为应用的正常运行状况截图。

    END
  • 发表于 2020-04-07 19:00
  • 阅读 ( 1719 )
  • 分类:其他类型

0 条评论

请先 登录 后评论
联系我们:uytrv@hotmail.com 问答工具