AD9833如何调整幅值

AD9833是ADI公司生产的一款低功耗,可编程波形发生器,能够产生正弦波、三角波、方波输出。

东西/原料

  • ADC9833
  • 互联网

方式/步调

  1. 1

    AD9833无需外接元件,输出频率和相位都可经由过程软件编程,易于调节,频率寄放器是28位的,本家儿频时钟为25MHz时,精度为0.1Hz,本家儿频时钟为1MHz时,精度可以达到0.004Hz。此内容可拜见ad9833 datesheet

  2. 2

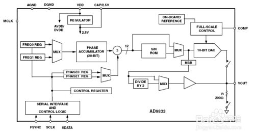
    AD9833的内部电路本家儿要稀有控振荡器(NCO)、频率和相位调节器、Sine ROM、数模转换器(DAC)、电压调整器,其功能框图如下图所示。

  3. 3

    它是怎么实现调幅的?以正弦波为例,AD9833的焦点是28位的相位累加器,它由加法器和相位寄放器构成,每来1个时钟,相位寄放器以步长增添,相位寄放器的输出与相位节制字相加后输入到正弦查询表地址中。正弦查询表包含1个周期正弦波的数字幅度信息,每个地址对应正弦波中0°-360°规模内的1个相位点。查询表把输入的地址相位信息映射当作正弦波幅度的数字量旌旗灯号,去DAC输出模拟量,相位寄放器每颠末228/M个MCLK时钟后回到初始状况,响应地正弦查询表颠末一个轮回回到初始位置,这样就输出了一个正弦波。其频率计较方式如下:

  4. 4

    别的需要注重的是,AD9833写入数据到输出端获得响应,中心有必然的响应时候,每次给频率或相位寄放器加载新的数据,城市有7-8个MCLK时钟周期的延时之后,输出端的波形才会发生改变,有1个MCLK时钟周期的不确定性,因为数据加载到目标寄放器时,MCLK的上升沿位置不确定。

  5. 5

    AD9833包含2个频率寄放器和2个相位寄放器,用以实现旌旗灯号移相,其模拟输出为:PHASEREC为所选相位寄放器中的相位字。

    END

注重事项

  • 仅供参考,若有疑问,请留言
  • 发表于 2020-04-12 19:00
  • 阅读 ( 3147 )
  • 分类:其他类型

你可能感兴趣的文章

相关问题

0 条评论

请先 登录 后评论
联系我们:uytrv@hotmail.com 问答工具